教育培训领域能力展示——高校应用
传统校园管理模式下,学校各类资源管理分散,跨部门联动难,数据无法共享。随着信息技术的发展,越来越多的学校开始借助线上渠道换焕新校园管理模式。
重深教育培训领域解决方案充分挖掘学校管理痛点,满足各部门个性化业务需求的同时,实现高效的跨部门协作数据共享,借助在线表单、数据报表、可视化视图等一系列平台功能为学校师生提供便捷的教务、学习、生活体验。
德育管理
1.常规检查得分记录与查询
过去学校对于仪容仪表、卫生情况、做操情况的记录常用纸质方式记录,不利于信息的整理与回顾。使用电子表单录入更方便的同时,也可以根据日期、班级等参数进行筛选查看。
![]() |
![]() |
2.评分排行榜
根据加分和扣分表单的提交数据可以制作评分排行报表,可以选择年级、日期、班级进行筛选查看或者一键排序。
![]() |
3.活动报名信息可视化报表
学校组织活动的报名情况借助丰富的图表展示,一目了然,便于学校老师把控报名情况,应对活动的宣传开展。
![]() |
教师考勤
1.移动端考勤打卡
在移动端就能完成考勤打卡,自带地图定位功能,提交的考勤记录在系统中也能方便的调用。
![]() |
2.教师日常出勤情况
教师日常打卡、补卡、请假、外出等情况,可以采用数据视图功能进行汇总分析,生成的图表可以一键导出下载使用。
![]() |
宿舍管理
1.住宿登记
新生入校分配宿舍,通过连接宿舍信息表,在住宿登记表单可以直接安排空余的房间进行入住安排。
![]() |
2.外来人员登记
出于学生管理安全考虑,外来人员登记是必须流程,登记的信息包括拜访房间号、拜访人姓名、来访详情等等。
![]() |
家校系统
1.校长信箱
方便收集家长对于学校管理的建议以及投诉需求,填写内容包含联系方式,便于学校及时取得联系解决问题。
![]() |
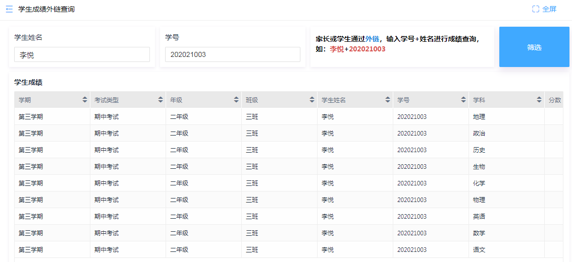
2.学生成绩外链查询
老师成绩录入完成后,可以选择将查询表单生成外链发送给学生或家长,通过填写姓名和学号即可查询自己的成绩。
![]() |
![]() |
会议室管理
学校各年级各组经常要组织会议,会议室管理应用能够提供预约会议室、查看会议室排期等功能,节省沟通时间。
![]() |
图书管理
提供方便的图书借还、查找、查看超期未还图书等功能,提升图书馆工作人员的工作效率,解决日常信息管理的难题。
![]() |













